DL□/PL□/NFG/NFP series
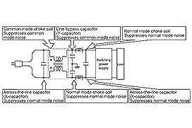
Common mode choke coils (CMCC) are filters that reduce common mode noise that is problematic in differential transmission lines (non-automotive use: USB, HDMI, Mipi, etc.; automotive use: CAN, CAN-FD, 100Base-T1, 1000Base-T1, SerDes, A²B™, etc.), power lines, and audio lines.
They are ideal for suppressing common mode noise with frequencies ranging from several megahertz to several hundred megahertz with no adverse effect on the signals (upper cut-off frequency).
Products can also be searched by series or application.